Sistema de Bibliotecas SENA
Grupo de trabajo
Elaborado por Pedro H. Sánchez C.
Instructor máquinas herramienta
Regional Boyacá
Revisión
Técnica Pedagógica Mario Ojeda
Profesor Asesor Digeneral
Revisión Técnica Luis Gómez
Instructor maquinas herramienta Centro
Colombo Alemán Barranquilla
Artes: Marlene Zamora C.
Impresión San Martín Obregón y Cía.
Cervantes Impresores
Primera edición mayo de 1990
Objetivo Terminal
Actividad No. 1
• Afilado de los escariadores
• Prueba No. 1
Actividad No. 2
• Rectificadora - Afiladora universal
• Desplazamiento de la muela para obtener
ángulo de
incidencia(cálculos y tabla)
• Técnicas de trabajo del rasqueteado
• Prueba No. 2
Actividad No. 3
• Afilar escariador cilíndrico diente recto
o helicoidal
• Afilar corte lateral en herramientas con
dientes rectos
• Afilar corte lateral en herramientas
cónicas con dientes rectos
• Prueba No. 3
Dada una ruta de trabajo en la cual se especifica el orden operacional y
los elementos utilizados para el afilado de un escariador, usted deberá describir
detalladamente los pasos para la ejecución del afilado, sin cometer ningún error.
Con el fin de lograr el objetivo terminal, usted deberá completar
satisfactoriamente cada una de las etapas que aparecen a
continuación:
1. Describir normas de afilado de escariadores
2. Describir el uso de la afiladora universal, accesorios utilizados para
efectuar el afilado de escariadores.
3. Indicar los pasos que corresponden a cada
operación del afilado de escariadores
a. Escariador cilíndrico diente helicoidal.
- Preparar máquina afiladora universal.
- Cilindrar punta escariador.
- Refrenar escariador.
- Construir ángulo de incidencia.
- Preparar máquina para hacer primer ángulo de incidencia(destalonado).
- Preparar máquina para hacer segundo ángulo de incidencia(destalonado).
- Construir segundo ángulo de incidencia.
- Control y verificación.
b. Escariador cónico diente recto.
- Preparar máquina afiladora universal.
- Posicionar la superficie lateral de un diente de la herramienta.
- Posicionar la muela para obtener el ángulo de incidencia.
- Preparar la máquina para rectificar.
- Ajustar la conicidad de la herramienta.
- Rectificar según indicaciones.
- Verificar afilado.
AFILADO DE LOS ESCARIADORES
El afilado de los escariadores, que consiste teóricamente en operaciones muy
simples, resulta prácticamente muy delicado, por el hecho de las precauciones
que se deben tomar para respetar el grado de precisiones indispensables para
su buen funcionamiento.
Los métodos de afilado difieren con los tipos de escariadores:
-Escariador máquina.
- Escariador manual.
- Escariador expansible y extensible.
- Escariador cónico de labio continuo (acabado).
- Escariador cónico con entallas (desbaste).
ESCARIADORES "MAQUINA"
El afilado efectuado sobre máquinas universales consiste únicamente en un
retoque de la entrada.
GAMA
1. Rectificación del cono de entrada (15°, 30° ó 45°).
2. Retoque destalonado de la entrada (6 a 10°) dejando subsistir un
testigo de rectifi. de 0.1 a 0.2 de ancho.
PERIODICAMENTE
1. Retoque cara con el fin de conservar la longitud de la entrada en las
tolerancias pedidas.
2. Rectificación de la punta que queda a 60° después del tronzado.
NORMAS VIGENTES

ESCARIADOR ES MANUALES DE DENTADURA FIJA.
El afilado consiste únicamente en un retoque del bisel delantero de los labios
de trabajo.
ESCARIADOR ES EXPANSIBLES (Expansión en la extremidad).
1. Expansión a un diámetro superior de 0.1 a 0.2 a la cota de
rectificación.
2. Rectificación exterior al diámetro y a la tolerancia requerida.
3. Destalonado de los listeles dejando subsistir un testigo de 0.1 a 0.2.
4. Rectificación de la entrada cónica (15°, 30° Y 45).
5. Destalonado de la entrada (6 a 10°) dejando subsistir un testigo de 0.1
a 0.2.
Todas estas operaciones se efectúan sobre máquina universal.
ESCARIADOR ES EXTENSIBLES
(Expansión en medio del escariador). Gama de afilado:
1. Expansión a un diámetro superior de 0.1 a 0.2 a la cota de
rectificación.
2. Rectificación exterior a un diámetro inferior de 0.03 a 0.05 a la cota
requerida.
3. Retoque bisel si es necesario.
4. Destalonado de los cordones dejando subsistir un testigo cilíndrico
de 0.1 a 0.2
5. Rectificación de la entrada al ángulo requerido.
6. Destalonado de la entrada.
7. Expansión del escariador al diámetro y a la tolerancia requeridas
sobre la pieza a realizar.
ESCARIADORES CONICOS (acabado).
Gama:
- Rectificación según el ángulo del cono pedido (generalmente 2%).
- Destalonado de los labios 28° + dejando subsistir un testigo de 0.15 máximo.
- Realización de 2°, destalonado (20 a 30°).
- Excepcionalmente del bisel respetando el ángulo de corte del escariador.
ESCARIADORES CONICOS (DESBASTE)

AFILIADO DE LOS ESCARIADORES
Este escariador que es una herramienta de perfil constante teóricamente
tiene que retocarse sino en el bisel.
Prácticamente dado el desgaste importante en despulle constatado después de la utilización, la operación de mantenimiento consiste en un
retoque del perfil y del destalonado sobre una máquina de destalonar.
VOCABULARIO TECNICO
Testigo = Superficie de corte. Labio o bisel = Plancha.
1. Enuncie los diferentes tipos de escariadores:
A.__________________________
B.__________________________
C.__________________________
D.__________________________
E.__________________________
2.Identifique las características del afilado de un escariador
A.__________________________
B.__________________________
C.__________________________
D.__________________________
E.__________________________
F.__________________________
G.__________________________
3. Describa las normas de afilado de un escariador cónico de acabado:
A._________________________
B._________________________
C._________________________
D._________________________
RECTIFICADORA-AFILADORA UNIVERSAL (CABEZAL PORTAPIEZA)
El cabezal portapieza (Fig. 4) es un accesorio de la rectificadora afiladora
universal, utilizado para la fijación de herramientas cilíndricas y cónicas que
deben ser afiladas.
La fijación de las herramientas puede en algunos casos, efectuarse directamente en los conos del eje o por medio de accesorios
complementarios,como son: bujes de reducción, pinzas o plato universal.
El posicionamiento se obtiene con el desplazamiento del conjunto sobre una
articulación de dos planos perpendiculares, que permite un movimiento
angular en dos planos: uno horizontal y otro vertical.
CONSTITUCION
Base:
Es de hierro fundido y tiene guías en la superficie de apoyo, que penetran en
la ranura en "T" de la mesa de trabajo, dos tornillos aseguran el conjunto a la
mesa. Su parte superior es rectificada y tiene un alojamiento para la
articulación, con una graduación de 360°.
Articulación:
Es también de hierro fundido, tiene en su parte inferior una superficie plana
de forma circular, con un índice y un rebaje con agujero roscado que penetra
en el alojamiento superior de la base, permitiendo así su fijación y giro en el
plano horizontal. La otra superficie, también plana, de forma circular y con
graduación de 3600 está en un plano perpendicular a la base y tiene un rebaje
circular que penetra en el cuerpo al que se fija por medio de un tornillo situado
en la parte central.
Cuerpo:
Es compuesto de una carcasa de hierro fundido y de un eje (5) alojado en su
interior, sobre rodamientos. En la parte externa de la carcasa, una superficie
plana de forma circular, con guía, posibilita la fijación y el giro del cuerpo en
el plano vertical de la articulación. En la parte superior e inferior de la
carcasa, superficies planas rectificadas, con ranuras en "T" (3) Y (9), sirven
para fijar el soporte universal para dientes con lámina o el soporte
posicionador del disco divisor (8).
Eje:
Es de acero templado y rectificado, tiene en sus extremos dos conos internos,
uno de tipo "STANDARD" americano y otro "MORSE". En la parte externa los
dos extremos son rebajados (4); uno para el alojamiento y fijación del disco
divisor (7) y otro para la fijación del anillo de sector (incidencia lateral de las
herramientas).

CONDICIONES DE USO
- Al utilizar el cabezal, evite golpes, para no dañar su superficie de apoyo.
-Mantenga un ajuste correcto del eje portapieza.
- Lubrique el cabezal, según indicaciones del fabricante.
CONSERVACION
Después del uso limpie y guarde este accesorio en lugar libre de polvo y golpes.
Cubra las superficies sujetas a la oxidación con aceite, grasa o vaselina
industrial.
OBSERVACION
Cabezal portapieza también puede llamarse cabezal divisor.
RECTIFICADORA-AFILADORA UNIVERSAL
(CABEZALES CONTRAPUNTAS, BRIDA LIMITADORA, INDICADOR DE CENTROS)
Son accesorios que sirven para fijar y posicionar en forma adecuada las
herramientas cilíndricas y cónicas entre puntas, montadas o no sobre ejes y
mandriles especiales. Son utilizados en los casos de herramientas que
requieren precisión en su concentricidad; con herramientas largas o cuando
por su forma y dimensión necesitan montarse en piezas auxiliares y a su vez
entre puntas.
Este tipo de fijación (entre puntas) permite retirar la herramienta para el control angular o dimensional, y volver a
fijarla sin el inconveniente de perder su concentricidad y alineación.
CABEZAL CONTRAPUNTA IZQUIERDO
Es un cuerpo de hierro fundido, con guías en la superficie de apoyo, que
permiten su alineamiento al fijarlo a la mesa de la máquina. En su parte
superior, posee un agujero, donde se aloja una contrapunta de cuerpo
cilíndrico, con una superficie plana en sentido longitudinal, que posibilita su
fijación al cabezal por medio de un tornillo y también permite fijar el indicador
de ángulos. Como su nombre indica sirve para apoyar un extremo de la
herramienta o pieza en el lado izquierdo de la mesa de trabajo de la máquina.
CABEZAL CONTRAPUNTA DERECHO
Es el elemento que sirve de soporte a una contrapunta normalizada, destinada
a apoyar el otro extremo de la pieza o herramienta en el lado derecho de la
mesa de trabajo de la máquina. Es de hierro fundido, también con guías en la
superficie de apoyo para su alineación y una pínula de acero, con resorte
regulable en su parte superior. La función de este resorte es regular la presión
de la contrapunta en la pieza, o herramienta y el movimiento de la pínula se
obtienen por medio de una palanca.
Por medio del movimiento de la pínula de este cabezal, que posee un ajuste
preciso, es que se hace posible retirar la herramienta para efectuar las
mediciones sin afectar la alineación al colocarla nuevamente. (Fig. 5)
Nomenclatura:
1. Cabezal contrapunta izquierdo
2. Contrapunta de cuerpo cilíndrico
3. Palanca de fijación
4. Contrapunta normalizada
5. Cabezal contrapunta derecho
6. Tornillo de regulación
7. Palanca de movimiento rápido
8. Tornillo de fijación
9. Tornillo de alineación
INDICADOR DE ANGULOS
Es un dispositivo compuesto de dos piezas: placa fija y placa móvil, que es
montado en el cuerpo cilíndrico de la contrapunta del cabezal izquierdo y
permite obtener el posicionamiento angular de la herramienta, o sea, el
ángulo de incidencia de los dientes de la herramienta, por medio de una brida
limitadora fija a la misma (Fig. 6).
Nomenclatura
1. Placa fija
2. Placa móvil
3.Brida limitadora
La placa fija:
Tiene una línea de referencia y se fija al cuerpo cilíndrico de la contrapunta
apoyada en el cabezal y en posición vertical.
La placa móvil:
Tiene un sector graduado y un agujero para introducir el perno de la brida
limitadora que fija la herramienta para su posicionamiento. Un tornillo en la
parte opuesta al sector graduado, sirve para fijar la contrapunta, en los
ángulos determinados.
INDICADOR DE CENTRO
Es un cuerpo generalmente de hierro fundido, con dos superficies planas
sirven de apoyo, y una parte acodada con una lámina de referencia en el
extremo.
La lámina de referencia del accesorio está a la misma altura del centro de las
contrapuntas, una vez que este se apoya en la superficie de la mesa de trabajo,
y cuando se apoya sobre el cabezal portamuela, la lámina quedará a la misma
altura del centro del eje portamuela.
Este accesorio permite alinear rápidamente el diente de la herramienta con el
centro del eje portamuela y el centro de las contrapuntas, además permite
alinear el centro del eje portamuela, con el centro de las contrapuntas,
tomando como referencia la superficie de la mesa de trabajo o la superficie
superior del cabezal portamuela (Figs. 7 y 8).

CONDICIONES DE USO
- Conserve las guías de la mesa y la base de los accesorios libres de rebabas y polvo.
- Evite golpear los accesorios.
- Las contrapuntas desgastadas deben rectificarse.
- Después del uso, limpie, lubrique y guarde los accesorios en lugar adecuado.
Es el posicionamiento adecuado de la superficie de trabajo de la muela en
relación a la herramienta para rectificar la superficie de incidencia en
determinado ángulo.
El desplazamiento de la muela es indispensable en el caso de no ser posible
dar movimiento a la herramienta en sentido angular; debido a su fijación o
posicionamiento y también en los casos de herramientas con superficies de
incidencia pequeña y ángulos muy precisos, siendo imposible obtener una
coincidencia exacta entre la línea de referencia y el anillo o sector graduado
del accesorio.
Este proceso puede aplicarse cuando la herramienta se afila con muela tipo
copa.
Para calcular el desplazamiento, se debe conocer el diámetro de la muela o de
la herramienta y el ángulo de incidencia.
1. CALCULO PARA EL DESPLAZAMIENTO DE LA MUELA
Se determina el desplazamiento de la muela, aplicando la siguiente fórmula:
11. CALCULO PARA EL DESPLAZAMIENTO DE LA HERRAMIENTA
Se obtiene el desplazamiento circular de la herramienta, por medio del
desplazamiento del cabezal portamuela, cuando el soporte de lámina que
sostiene la herramienta está fijo al cabezal portamuela. En este caso, la
distancia "H" de desplazamiento del cabezal está en función del diámetro de
la herramienta.
Este desplazamiento se obtiene aplicando la siguiente fórmula:
OBSERVACION
En ambos casos, el desplazamiento se hace en movimiento vertical del cabezal
portamuela, empleándose su anillo graduado como referencia inicial del
alineamiento del centro de la muela con el diente y el centro de la
herramienta.
En la página siguiente se presenta la tabla de valores de "H"
PARTE A.
1. Identifique el accesorio y las partes que lo conforman:
PARTES
Nombre del accesorio:
1._____________
2._____________
3._____________
4._____________
5._____________
6._____________
7._____________
8._____________
9._____________

2. El eje tiene en sus extremos dos conos y son:
a.____________________________
b.____________________________
3. El disco divisor está alojado sobre:
_____________________________________
4. En qué caso son utilizados los cabezales contrapuntas:
a.____________________________
b.____________________________
c.____________________________
5. El indicador de ángulos está compuesto por:
a.____________________________
b.____________________________
6. El indicador de permite:
______________________________________
PARTE B.
Una de las siguientes opciones no es verdadera, indíquela:
7. El indicador de centros permite:
a. Centrar el disco divisor.
b. Alinear el diente con el centro del eje delportamuela.
c. Alinear el centro del eje del portamuela con el centro de los contrapuntas.
d. Alinear el diente con el centro del contrapuntas.
AFILAR ESCARIADOR CILÍNDRICO DIENTE RECTO O HELlCOIDAL (EN EL CABEZAL PORTAPIEZA)
Esta operación consiste en rectificar las superficies de incidencia de los
dientes de los escariadores en la punta, se obtiene la inclinación por medio
del giro del cabezal portapieza y del cabezal portamuela.
PROCESO DE EJECUCION
1.Preparar máquina afiladora de herramientas.
a. Monte muela plana.
b. Rectifique muela.
c. Monte cabezal portapieza.
d. Monte boquilla (pinza).
e. Gire cabezal portapieza.
f. Monte herramienta.
g. Acople motor.
2.Cilindrar escariador.
a. Prenda máquina.
b. Prenda motor adicional montado sobre la mesa.
c. Acerque herramienta a la muela y cilindre.
d. Pare la máquina
(EL MOTOR ADICIONAL PARA AUTOMATICAMENTE)
e. Verifique cilindrado.
OBSERVACION
Conserve las normas de seguridad (use gafas de seguridad)
3. Preparar máquina para refrendar escariador.
a. Retire muela plana.
b.Limpie husillo.
c.Monte muela de copa.
d.Gire cabezal portamuela.
e.Posicione cabezal portapieza.
4.Refrentar escariador.
a. Prenda máquina.
b. Prenda motor adicional.
c. Posicione centro de la herramienta con el filo de la muela.
d. Fije tope.
e. Refrente herramienta hasta dimensión indicada.
f. Pare la máquina.
5. Preparar máquina para hacer primer ángulo de incidencia (destalonado).
a. Gire cabezal portapieza según ángulo de afilado.
b. Incline cabezal portamuela.
c. Monte plato divisor.
d.Retire motor adicional.
e.Prenda máquina.
f. Acerque herramienta a la muela.
6. Hacer ángulo.
a.Afile ángulo de incidencia en el primer diente.
b.Gire herramienta.
c.Afile ángulo de incidencia en el segundo diente.
NOTA:
Repita los subpasos b, c, hasta obtener el ángulo en todos los
dientes.
d. Pare máquina.
7. Preparar máquina para hacer segundo ángulo de incidencia (2o. destalonado).
a. Gire cabezal portamuela verticalmente.
b. Prenda máquina.
c. Acerque herramienta a la muela.
8. Hacer ángulo
a. Desbaste hasta obtener medida primer diente.
b. Gire herramienta.
c. Desbaste hasta obtener medida segundo diente.
NOTA: Repita los subpasos b, c hasta construir el segundo ángulo
de incidencia (20. destalonado) en todos los dientes.
d.Verifique segundo ángulo de incidencia (20. destalonado).
e.Pare máquina.
f. Retire herramienta.
9. Verificar afilado.
a. Seleccione aparatos de control.
b. Verifique ángulos.
c. Verifique superficies afiladas
Dos procesos claramente diferenciados se presentan en los trabajos de afilado
de herramientas que requieren precisión angular en las aristas de corte ya que
es necesario utilizar muelas de distintos tipos para rectificar las superficies de
incidencia, de acuerdo con el sistema de posicionamiento utilizado. Esta
operación se puede realizar con precisión en herramientas de conicidad hasta
15° por medio del desplazamiento angular de la mesa con el tornillo micrométrico.
I. CON MUELA TIPO RECTA
1. Preparar máquina afiladora universal.
a. Monte y rectifique la muela tipo recta.
b. Monte la herramienta entre puntas o entre cabezal portapieza y contrapunto.
- Suelte los tornillos de fijación de la mesa.
- Desplace la mesa al ángulo determinado, por medio del tornillo
micrométrico (Fig. 12).
OBSERVACION
El desplazamiento debe ser igual a la mitad del valor del ángulo a obtener.
2.Posicionar la superficie lateral de un diente de la herramienta.
a.Monte en la mesa el soporte para dientes con lámina de punta recta
b. Coloque el indicador de centros sobre la mesa.
c. Gire la herramienta hasta que la arista de corte de un diente apoye en
la lámina del indicador de centros (Fig. 13).
d. Posicione la lámina de soporte para dientes debajo del
diente centrado y desplácela por medio del tornillo micrométrico
hasta tocar la superficie de ataque del diente.
OBSERVACION
Conserve las normas de seguridad (use gafas de seguridad)
e.Fije la espiga de la lámina del soporte
para dientes.
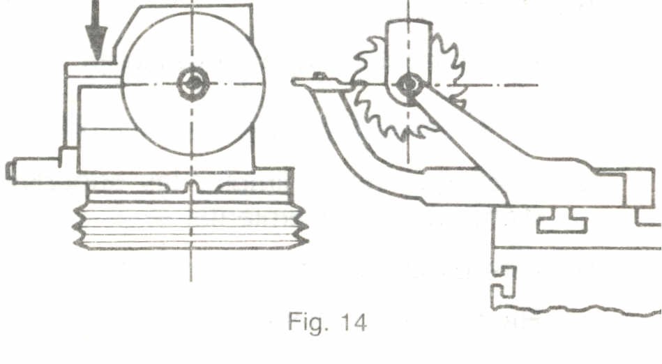
3. Posicionar la muela para obtener el ángulo de incidencia.
a.Alinee el centro del eje portamuela con el centro de las
contrapuntas (Fig. 14).
b.Coloque el anillo graduado del volante de movimiento vertical en "O" y
retire el indicador de centros.
OBSERVACION
Repita los subpasos b y c hasta último diente.
c.Monte muela de copa.
d.Gire cabezal portamuela.
e.Posicione cabezal portapieza.

PRECAUCION
ASEGURE LA HERRAMIENTA CON UN PAÑO O CON UN GUANTE, PARA EVITAR CORTARSE.
d. Fije tope.
e. Refrente herramienta hasta dimensión indicada.
f. Pare la máquina.
5. Preparar máquina para hacer primer ángulo de incidencia (destalonado).
a. Gire cabezal portapieza según ángulo de afilado.
b. Incline cabezal portamuela.
f. Verifique el ángulo obtenido con goniómetro (Fig. 16) o en mesa de seno
(Fig. 17) Y comparador de carátula.
4. Preparar la máquina para rectificar.
a. Prenda máquina.
b. Prenda motor adicional.
c. Posicione centro de la herramienta con el filo de la muela.
5. Ajustar la conicidad de la herramienta. .
a. Rectifique hasta limpiar las superficies de incidencia del primer diente de la herramienta
b. Gire plato divisor.
c. Rectifique 2o. diente.
OBSERVACION
Repita los subpasos b y c hasta último diente.
f. Pare la máquina y aparte la muela.
g. Retire la herramienta y límpiela.
PRECAUCION
ASEGURE LA HERRAMIENTA CON UN PAÑO O CON UN GUANTE, PARA EVITAR CORTARSE.
g. Verifique el ángulo obtenido con goniómetro (Fig. 16) o en mesa de seno
(Fig. 17) Y comparador de carátula.

1. Preparar máquina afiladora universal
a. Monte y rectifique la muela tipo copa cónica.
b. Incline el cabezal porta muela a 89°
c. Monte la herramienta entre-puntas.
d. Incline la mesa.
2. Posicionar la superficie de incidencia lateral de un diente de la herramienta.
a. Coloque el indicador de centros sobre la mesa, y alinee el centro del eje
porta muelas con los centros de las contrapuntas.
b. Coloque el anillo graduado del volante del movimiento vertical en "O"
c. Monte el soporte universal para dientes con lámina de punta recta, en
el cabeza porta muelas posicionando la lámina en el frente de la muela.
OBSERVACION
La lámina debe quedar paralela y aproximadamente a 2 mm. de la cara de la muela (Fig. 18).
d. Centre la lámina del soporte para dientes desplazándola por medio del
tornillo micrométrico hasta que la parte recta de la punta toque la
lámina del indicador de centros (Fig. 19).

e. Retire el indicador de centros.
f. Desplace la herramienta hasta que la superficie de ataque de un diente apoye sobre la punta de la lámina.
OBSERVACION
Al apoyar la superficie en la lámina asegúrese de que el diente no toque la muela.
g. Baje el cabezal portamuela en la medida determinada para obtener el ángulo indicado
h. El desplazamiento del cabezal portamuela debe ser igual a la altura "h" por el
cálculo de desplazamiento de la herramienta (Fig. 20).
3. Preparar la máquina para rectificar.
4. Ajustar la conicidad de la herramienta

OBSERVACION
Verifique el ángulo obtenido con goniómetro o en mesa de seno y haga las
correcciones necesarias en el desplazamiento angular de la mesa hasta
conseguir el ángulo indicado en la herramienta.
5. Rectificar según indicaciones.
Esta operación consiste en rectificar las superficies de incidencia de los dientes
de las herramientas cónicas de poco largo, se obtiene la inclinación por medio
del giro de la mesa o del cabezal portapieza y también combinando ambos
movimientos; la corrección en el plano horizontal de los dientes se obtiene por
medio del desplazamiento vertical del cabezal portapieza. Esta operación es
aplicada en fresas cónicas, bicónicas y escariadores.
PROCESO DE EJECUCION
1. Preparar máquina afiladora universal.
a. Monte y rectifique la muela tipo copa cónica.
b. Incline el cabezal portamuela a 89° con relación al eje de la mesa.
c. Monte la herramienta en el cabezal portapieza.
d. Monte el disco divisor y el soporte posicionador en el cabezal portapieza.
OBSERVACION
Seleccione el disco que contenga un número de divisiones que sea divisible
por el número de dientes de la herramienta.
2. Inclinar el cabezal portapieza en el ángulo indicado (Fig. 21).
OBSERVACION
Para herramientas de conicidad inferior a 15°, use el desplazamiento
angular de la mesa.
3. Posicionar la superficie de incidencia de un diente de la herramienta.
a. Coloque el indicador de centros sobre el cabezal portamuela y alinee el
centro de la herramienta con la lámina del indicador, desplazando el cabezal.
b. Apoye la arista de corte de un diente de la herramienta en la lámina del
indicador, fije el eje del cabezal portapieza y el anillo indicador de
ángulos en "0°".
c. Suelte el perno posicionador y desplácelo hasta coincidir con una de las
divisiones del disco.
d. Suelte el eje del cabezal y hágalo girar por medio del tornillo micrométrico
del perno posicionador hasta obtener el ángulo indicado.

fig.21 fig.22
OBSERVACION
En herramienta con mucha conicidad el desalineamiento del plano
horizontal de la arista es mayor debido a la diferencia de los diámetros de
la herramienta, en este caso se debe hacer la compensación, inclinando el
cabezal en su plano vertical y al mismo tiempo girando el eje del cabezal
para corregir el ángulo de incidencia.
4. Preparar la máquina para rectificar.
OBSERVACION
Al posicionar la muela para rectificar la superficie, asegúrese que no toque
el diente próximo al que va a ser afilado.
5. Rectificar hasta limpiar las superficies de incidencia de los dientes de la
herramienta.
6.Verificar el ángulo y hacer las correcciones necesarias en el desplazamiento angular del cabezal.
OBSERVACION
En caso de tener que realizar un ajuste fino en la inclinación, use el tornillo
micrométrico de la mesa.
7. Rectificar según indicaciones.
OBSERVACION
En caso de herramientas bicónicas, repita esta operación en el corte
opuesto girando la herramienta. Considérese la simetría de los cortes,
cuando sea necesario.
8. Verificar afilado.
PARTE A.
1.Dada una lista desordenada de los pasos que se siguen para ejecutar el
afilado de escariador cilíndrico diente recto, usted deberá ordenarlos
lógicamente, escribiendo el número de orden en los círculos indicados:
O Cilindrar escariador.
O Preparar máquina para afilar primer ángulo de incidencia (destalonado).
O Preparar máquina afiladora de herramientas.
O Refrentar escariador.
O Afilar primer ángulo de incidencia.
O Preparar máquina para afilar segundo ángulo de incidencia (destalonado).
O Verificar afilado.
O Afilar segundo ángulo de incidencia (destalonado).
O Preparar máquina para refrentar escariador.
2.Dada una lista desordenada de los pasos que se siguen para ejecutar el
afilado de un escariador cónico diente recto con muela tipo recta, usted
deberá ordenarlos, escribiendo el número de orden en los círculos indicados:
OPosicionar la superficie lateral de un diente de la herramienta
OPreparar la máquina para rectificar
ORectificar según indicaciones.
OAjustar la conicidad de la herramienta.
OPosicionar la muela para obtener el ángulo de incidencia.
OPreparar máquina .afiladora universal.
OVerificar afilado.
PARTE B.
Los enunciados siguientes describen los pasos en desorden del proceso de
ejecución del afilado de escariadores cónicos con dientes rectos (cabezal portapieza),
usted debe escribir el orden lógico de los pasos que correspondan
a cada operación, colocando en los círculos los números correspondientes
según el orden establecido en las hojas de operación:
1. Monte la herramienta en el cabezal portapieza.
2. Coloque el indicador de centros sobre el cabezal portamuela y alinee el
centro de la herramienta con la lámina del indicador, desplazando el cabezal.
3. Incline el cabezal portamuela 89° en relación con el eje de la mesa.
4. Apoye la arista de corte de un diente de la herramienta en la lámina del
indicador.
5. Toque con el diente centrado la lámina del indicador y alinee la arista
inclinando el cabezal portapieza en su plano vertical.
6. Suelte el perro posicionador y desplácelo hasta coincidir con una de las
divisiones del disco.
7. Suelte el eje del cabezal y hágalo girar por medio del tornillo micrométrico
del perno posicionador hasta obtener el ángulo indicado.
8. Monte y rectifique la muela tipo copa cónica.
9. Monte el disco divisor y el soporte posicionador en el cabezal portapieza.

Escaneo y organización de textos Regional Caldas Luz Marelby Giraldo Líder Biblioteca José Julián Escobar Auxiliar de Biblioteca Cindy Nayely Taborda Aprendiz Tecnóloga en asistencia administrativa Equipo de gestión del Sistema de Bibliotecas: Martha Luz Gutiérrez Ortega Gestora Del Sistema De Bibliotecas SENA Adriana Rincón Avendaño Diseñadora Gráfica Líder Proyecto De Digitalización Del SBS
Versión Digital:
Alberto Mario Angulo Flórez
Instructor SENA
Karime Andrea Montañez
Coordinadora a Cargo SBS
Cesar David Hernández Salgado
Steven Camilo Lambraño Galvis
Aprendices Producción Multimedia SBS
Centro de Gestión de Mercados, Logística y TIC’s
SENA – Bogotá
Centro de Gestión de Mercados, Logística y TIC’s
SENA – Bogotá
2013