Sistema de Bibliotecas SENA
CONTENIDOS TÉCNICOS Carlos Hernando Rosas R.- Sena.CNC. Carlos Efrén lbarra G.- Grival ASESORIA TECNICO-PEDAGOGICA: Luis Eduardo Bustamante T. Asesor División de Industria y de la Construcción. Sena DIAGRAMACIÓN: Mario Alberto Salazar Z. ILUSTRACIÓN Departamento de Dibujo Grival
COMITE TÉCNICO: Fernando Delgado H. Presidente Asoceramistas Luis Fernando Jiménez C. Gerente Mercadeo - Grival Juan Arias B. Jefe Centro Nacional de la Construcción. Producción Convenio: SENA - ASOCERAMISTAS SENA. Sección Publicaciones 1991.
1. GENERALIDADES 1.1 Descripción 1.2 Partes 1.3 Funcionamiento 2. PROCESO TECNICO DE INSTALACION 2.1 Medidas de Instalación 2.2 Instalación 3. CONEXION A LA RED/ 3.1 Con Niples de hierro galvanizado 3.2 Con Niples de P.V.C. 3.3 Con Acoples Flexibles Metálicos 4. HERRAMIENTAS PARA LA INSTALACION 5. MANTENIMIENTO Y REPARACION 6. RECOMENDACIONES TECNICAS
1.1. DESCRIPCIÓN
Es un tipo de llave sencilla, que se caracteriza por su mecanismo de cierre, el cual con rotar la manija solamente media vuelta a la izquierda o derecha permite el paso del máximo caudal de agua al lavamanos, o lo interrumpe.
Se instala en los lavamanos integrales pequeños, los cuales generalmente traen dispuesta una perforación para la llave en el centro o en sus extremos laterales.
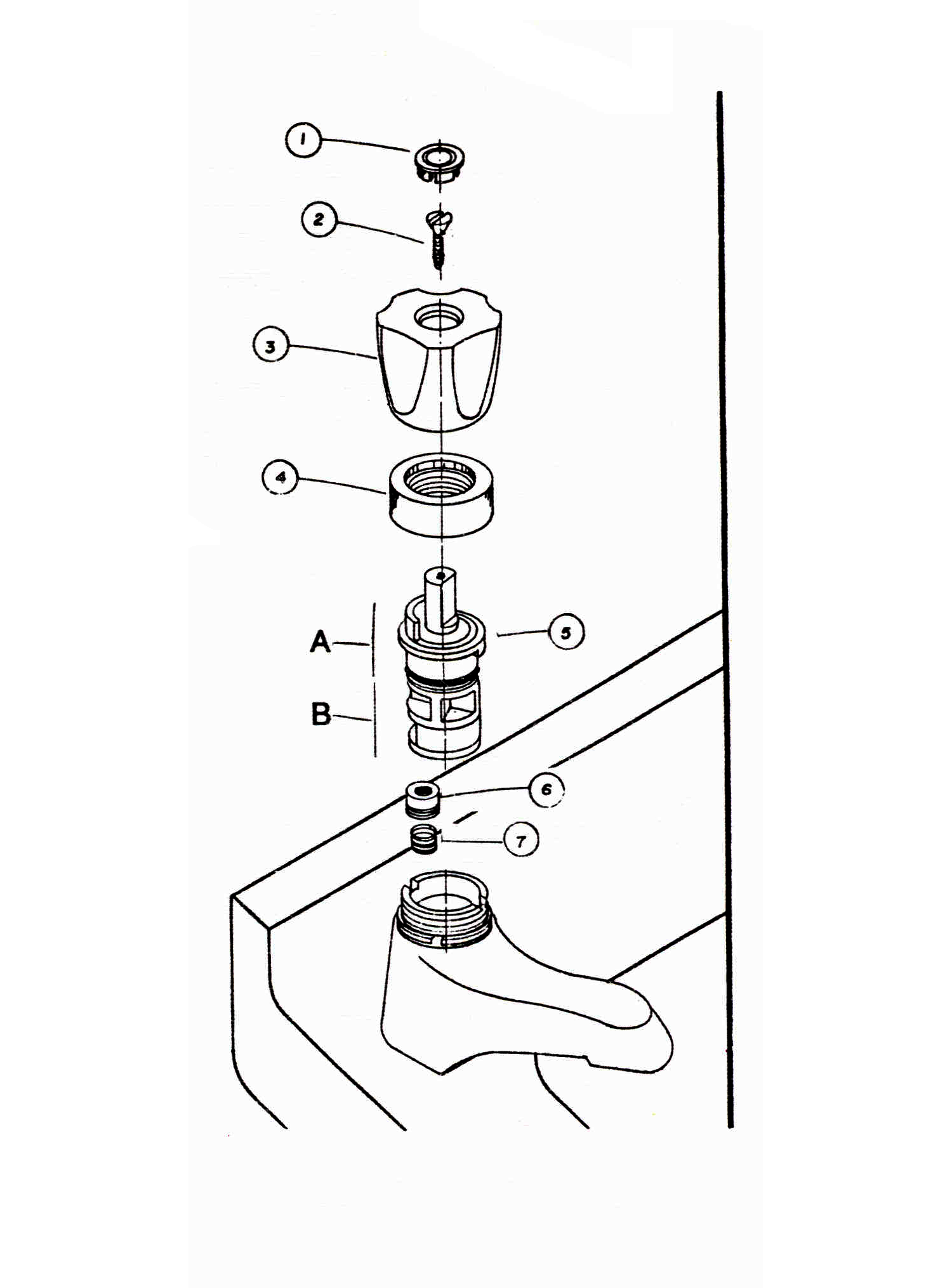
1.2 PARTES:
1. BOTON INDICE
2. TORNILLO
3. MANIJA
4. TUERCA DE REFINACION
5. TOPE
6. ANILLO DE CAUCHO-ROTATORIO
7. ANILLO DE CAUCHO – ESTATICO
8. ARANDELA DE RETENCION
1.3 FUNCIONAMIENTO:
El funcionamiento de esta llave es muy sencillo: Al girar media vuelta la manija hacia la izquierda, el disco móvil del conjunto de cierre, rota haciendo coincidir su perforación inferior con el agujero central del empaque del asiento de la llave, permitiendo así, el paso del agua. Al girar la manija en sentido contrario, nuevamente se produce el sello y se interrumpe el paso del agua.

2.1 MEDIDAS DE INSTALACION:
Las medidas de instalación generalmente recomendables para estos lavamanos, son las siguientes:
Sin embargo, antes de la instalación es importante, revisar la referencia del mismo y verificar las medidas que recomienda el fabricante.
2.2 Instalación de la Llave en el Lavamanos.
La llave viene armada desde la fábrica y para su instalación,
no necesita desarmarla, tome la llave del empaque y proceda de acuerdo al siguiente orden de pasos:
A. Inserte el empaque de caucho en el asiento de llave teniendo en cuenta que la parte escalonada del mismo quede hacia abajo y coloque la llave en el lavamanos.
B. Por debajo de la porcelana inserte la arandela de fricción y enrosque manualmente la tuerca de ajuste hasta que la llave quede perfectamente ajustada y en la posición correcta.
Antes de fijar definitivamente el lavamanos a la pared se procede a la preparación de la acometida a la red, la cual puede hacerse de muchas formas diferentes, pero para el caso, citaremos únicamente los métodos que pueden considerarse más comunes.
3.1 Con Niples De Hierro Galvanizado
• Aliste una reducción de copa de hierro galvanizado, de 1/2 pulgada por 1/4 de diámetro.
• Tome el niple unión de la llave individual, insértele la tuerca unión y después de aplicarle cinta de teflón
en la rosca, enrósquelo en la reducción de copa, primero manualmente y termine de ajustarlo utilizando un hombre solo o una llave para tubos número 6.
• Tome el conjunto formado anteriormente y después de colocar el anillo de caucho sobre la parte escalonda del niple unión, enrosque la tuerca unión en la rosca de la llave individual.
• Coloque provisionalmente el lavamanos en la pared en la posición que quedará instalado, sin fijarlo definitivamente.
• Tome las medidas de los niples necesarios para la conexión y retire el lavamanos.
• Corte y rosque los niples de hierro galvanizado.
• Utilizando un codo de hierro galvanizado de1/2 pulgada y después de
aplicar cinta de teflón en las roscas de los niples forme la pieza que aparece en la figura, ajustando convenientemente con llaves para tubos.
•Desenrosque la tuerca unión de la base de la llave individual del lavamanos y enrosque la reducción en
el niple correspondiente de la pieza que acaba de conformar. • Enrosque el otro extremo de la pieza, en el accesorio de la pared, ajustando con llaves para tubos. Verifique que la posición final, sea la correcta para el acople con la llave individual. • Coloque el lavamanos en la pared en la posición que quedará instalado, haciendo coincidir la base de la llave individual del lavamanos con el niple unión. • Después de fijar el lavamanos a la pared, enrosque manualmente la tuerca unión ajustando adecuadamente.• Por último, permita el paso del agua y pruebe la instalación.
3.2 Con Niples De P.V.C.
Generalmente, es recomendable, que toda tubería que quede instalada a la vista, sea metálica ya que estará expuesta a los golpes o al maltrato común en el momento de hacer aseo, sin embargo en la práctica, debido al auge de las tuberías PVC, es muy frecuente realizar este tipo de conexiones con niples y accesorios de la misma tubería, para ello se procede con un método similar al descrito anteriormente, así:
• Aliste un adaptador hembra PVC de 1/2 pulgada por 1/4.
• Tome el ni pie unión de la llave individual, insértele la tuerca unión y después de aplicarle cinta de teflón en la rosca, enrósquelo en el adaptador hembra de PVC. Termine de ajustarlo con un hombre solo o una llave para tubos número 6.
• Coloque el anillo de caucho sobre la parte escalonada del niple unión y enrosque la tuerca unión en la rosca de llave individual para lavamanos.
•Coloque provisionalmente el lavamanos en la pared en la posición que quedará instalado, pero sin fijarlo definitivamente.
• Tome las medidas de los niples de PVC, necesarios para la instalación.
• Desenrosque la tuerca unión de la base de la llave individual del lavamanos.
• Con limpiador removedor y utilizando estopa o una bayetilla, limpie: el interior de las campanas del codo, el interior de la campana del adaptador hembra que contiene el niple
unión, el interior de la campana del accesorio de la acometida de la pared y los espigas de los niples de PVC.• De acuerdo con las medidas requeridas, utilizando soldadura líquida PVC, suelde el adaptador, los niples y el codo de 1/2 pulgada, conformando la pieza que se observa en la figura.
• Suelde la pieza de la acometida, en el accesorio de la pared, haciendo coincidir la superficie del niple unión que contiene el anillo de caucho, con la base de la llave individual del lavamanos.
• Por último, fije definitivamente el lavamanos y ajuste manualmente la tuerca unión.
3.3 Con Acoples Flexibles Metálicos.
• Si el accesorio de acometida de la pared, es de hierro galvanizado, corte y rosque un ni pie de del mismo material, de una longitud tal, que después de instalado sobresalga 4.5 cms. de la pared terminada.
• Si el accesorio de acometida de la pared, es de PVC, disponga un ni pie con un adaptador macho de 1/2" en un extremo, teniendo en cuenta que la dimensión citada en el punto anterior, esta vez se toma hasta el borde del adaptador.
• Aplique cinta de teflón en la rosca de la acometida. Fije definitivamente el lavamanos a la pared.
• Deseche el niple unión y su anillo de caucho de la llave individual para lavamanos y solamente conserve la tuerca.
• Coloque provisionalmente el acople flexible y determine la medida adecuada para un acople correcto, teniendo en cuenta que el extremo del acople, solamente debe penetrar por la base de la llave individual, una longitud de 2.0 cms.
• Por el extremo liso del acople, inserte en su orden:
Deseche el empaque y la arandela de fricción grandes del acople flexible.
• Introduzca el extremo correspondiente del acople por la base de la llave individual y enrosque, en primer lugar la tuerca de la acometida ajustándola convenientemente con llaves expansivas, coloque el escudo y posteriormente proceda a ajustar manualmente la tuerca unión de llave individual.
Dado que el mecanismo de funcionamiento de la llave individual (cierre rápido) para lavamanos es muy sencillo, las fallas que puedan presentarse, también son muy eventuales, sin embargo se anexa la siguiente información, como una guía, en caso de posibles reparaciones. • Corte el suministro de agua. • Con la punta de un pequeño destornillador de pala, retire el botón índice (1), desenrosque el tornillo de sujeción. •( 2 ) Y retire la manija ( 3 ) halando hacia arriba. • Desenrosque manualmente la tuerca bonete (4) Y retírela. • Acople nuevamente la manija (3) Y enrosque el tornillo ( 2 ). Hale la manija hacia arriba para retirar el conjunto de selle (5).
• Revise los empaques (anillos de caucho) interno y externo de la pieza fija (A), su deterioro produce escapes de agua por la parte superior de la llave individual. • Revise la pieza móvil (B), si se encuentra rayada o deteriorada en la base, es conveniente reemplazarla para evitar el goteo por la nariz de la llave. • Utilizando un lápiz retire el empaque (6) Y el resorte (7) del asiento interior de la llave. Si el empaque o el resorte se encuentran deteriorados es conveniente reemplazarlos para evitar el goteo por la nariz de la llave.• Después de revisar las partes componentes de la llave proceda a armarla conservando el orden descrito. Inserte el conjunto de selle (5) de tal forma que la pestaña penetre en la ranura del cuerpo y enrosque manualmente la tuerca (4). • Acople la manija (3), asegúrela con el tornillo (2) Y coloque a presión el botón índice. LOS REPUESTOS PARA ESTA LLAVE, SE ENCUENTRAN DISPONIBLES EN EL MERCADO LOCAL
OTRAS GRIFERIAS INDIVIDUALES DE CIERRE RAPIDO. > Por ningún motivo utilice hilazas o grasas de tipo mineral o vegetal como sellantes en las roscas. > No trate las tuercas con llaves para tubo, algunas solo se ajustan manualmente, para el manejo de las tuercas metálicas, utilice llaves expansivas. > Antes de instalar la acometida, proceda a drenar la tubería dejando escapar momentáneamente el agua, así evitará que los residuos que quedan en la red después de la instalación, puedan afectar el normal funcionamiento de la llave. > Revise y siga ordenadamente las recomendaciones técnicas de la presente guía, se evitará contratiempos.
Cada llave cierre rápido, que forma el conjunto de la gritería, es de las características y partes descritas anteriormente, en consecuencia, los procesos de instalación, conexión a la red, mantenimiento y recomendaciones técnicas obedecen a las ya descritas. Sin embargo, cuando la red de agua caliente, se halla instalada con tubería plástica CPVC., los niples y accesorios de conexión de la llave serán también CPVC., al igual que la soldadura líquida. NOTA. El proceso de instalación del sifón, se encuentra descrito en la cartilla: “SIFONES PARA LAVAMANOS”.
Escaneo y organización de textos Regional Caldas Luz Marelby Giraldo Líder Biblioteca José Julián Escobar Auxiliar de Biblioteca Cindy Nayely Taborda Aprendiz Tecnóloga en asistencia administrativa Equipo de gestión del Sistema de Bibliotecas: Martha Luz Gutiérrez Ortega Gestora Del Sistema De Bibliotecas SENA Adriana Rincón Avendaño Diseñadora Gráfica Líder Proyecto De Digitalización Del SBS
Versión Digital:
Alberto Mario Angulo Flórez
Instructor SENA
Karime Andrea Montañez
Coordinadora a Cargo SBS
Ana Karina Vargas Alvarez
Aprendiz Producción Multimedia SBS Centro de Gestión de Mercados, Logística y TIC’s
SENA – Bogotá
Centro de Gestión de Mercados, Logística y TIC’s
SENA – Bogotá
2012